Kiểu vận hành : Tạo dốc di chuyển xe nâng
Trọng tải : 1-15 tấn
Chất liệu : Thép V chịu lực
Mặt sàn : Dày 8-12 mm
Kích thước : 1,800x2,200x200 mm
Bảo hành : 12 tháng
Thiết bị mới 100%, chưa qua sử dụng
Sàn dẫn container xe nâng do Bình Minh (cầu dẫn container) cung cấp là một loại thiết bị xếp dỡ chuyên dụng. Thiết bị này được thiết kế để xếp dỡ container đường biển bằng xe nâng hoặc xe đẩy thủy lực. Cầu dẫn này cho phép san bằng khoảng cách giữa mặt đất và container, giúp việc vận chuyển lên xuống container được dễ dàng.

Sàn dẫn container xe nâng tải trọng từ 1-15 tấn
|
Trọng tải |
6-12 Tấn |
|
Chiều dài |
1700 mm |
|
Chiều rộng |
2100-2300 mm |
|
Chiều cao nâng |
165 mm |
|
Chất liệu |
Thép chịu lực |
|
Tôn nhám chống chầy |
Dày 8-12 mm |
|
Lỗ nâng càng nâng |
tích hợp sẵn |
|
Quy cách vận chuyển |
2 sợi dây xích |
|
Bảo hành |
12 tháng |
Chúng tôi sẵn sàng cung cấp nhiều giải pháp cho việc xếp dỡ container đường biển với cầu dẫn container BM-CB. Với kinh nghiệm sản xuất thiết bị xếp dỡ lâu năm, Bình Minh cho phép chúng tôi cung cấp cho khách hàng cầu nâng xếp dỡ với mọi trọng tải.
Cầu dẫn container được sản xuất trong thời gian ngắn, giá thành thấp nên rất được ưa chuộng.

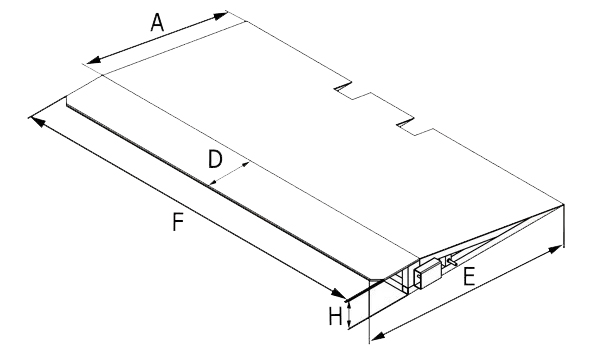
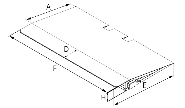
Bản vẽ kích thước sàn dẫn vào container cho xe nâng
|
STT |
Model |
Trọng tải Kg |
Kích thước (mm) |
||||
|
A |
Dày |
E |
F |
H |
|||
|
1 |
SDCC-CB6 |
6000 |
1500 |
200 |
1700 |
2100 |
165 |
|
2 |
SDCC-CB8 |
8000 |
1500 |
200 |
1700 |
2100 |
165 |
|
3 |
SDCC-CB10 |
10000 |
1500 |
200 |
1700 |
2100 |
165 |
|
4 |
SDCC-CB12 |
12000 |
1500 |
200 |
1700 |
2100 |
165 |
|
5 |
SDCC-CB6 (CD=2300) |
6000 |
1500 |
200 |
1700 |
2300 |
165 |
|
6 |
SDCC-CB8 (CD=2300) |
8000 |
1500 |
200 |
1700 |
2300 |
165 |
|
7 |
SDCC-CB10 (CD=2300) |
10000 |
1500 |
200 |
1700 |
2300 |
165 |
|
8 |
SDCC-CB12 (CD=2300) |
12000 |
1500 |
200 |
1700 |
2300 |
165 |
Cầu nâng container đơn giản và dễ dang vận hành. Cầu nâng được làm bằng thép tấm, chắc chắn và bền bỉ. Cầu nâng container lý tưởng cho các hoạt động bốc xếp trong điều kiện sử dụng nhiều.
Một trong những ưu điểm chính của cầu container là tính cơ động. Cầu có thể được di chuyển qua kho bằng xe nâng. Cầu có các hốc tích hợp đặc biệt để xe nâng có thể nâng và vận chuyển.
Cầu di động được vận chuyển đến container và đặt phía trước container. Cầu được gắn vào container bằng xích có móc, giúp ngăn ngừa tình trạng container bị trượt hoặc dịch chuyển trong quá trình sử dụng.

Cầu nâng container cho xe nâng di chuyển
Kích thước tổng thể của Cầu nâng container Bình Minh tương ứng với kích thước của lỗ mở tiêu chuẩn của container và có thể thay đổi theo yêu cầu riêng của khách hàng.